
含附件
产品概述
HHL-8500-CW-1N Transmitter采用8.5um QCL激光器,连续或脉冲工作模式 。脉宽范围:1ns-200ns,重复频率可达300MHz。可传输155Mbps-622Mbps(OC-3,OC-12)比特流。差分输入,最小输入电压摆幅200mV。双电源供电(+5V,+12V)。激光器温度控制范围:15°C-28°C(根据用户要求订制)。输出平均光功率可达250mW。集成热保护、过压保护、过流保护、电源反接保护功能。QCL激光器的阈值电流、光功率、消光比、摆幅均可调节。小体积,低功耗,高速,易于连接使用。是目前全球最快的中红外发射组件。
光电参数指标
应用资源
中红外空间通讯
中红外光谱分析
中红外气体检测
中红外成像
中红外雷达
中红外医疗
原理与操作
CW工作模式:
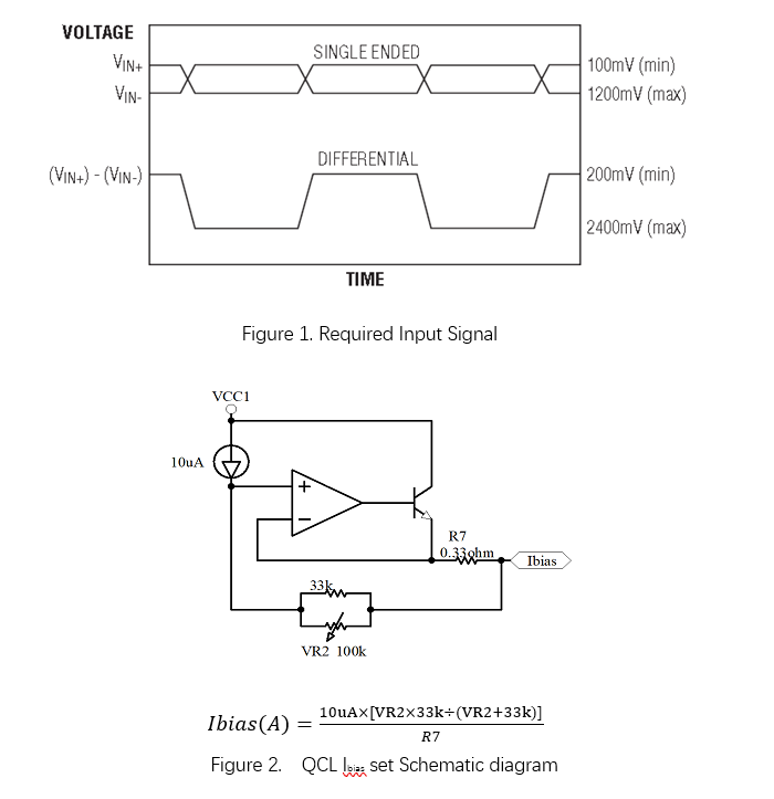
A.测量恒流源采样电阻R7两端电压Vb,Ibias=Vb÷R7,根据图2、图3的对应关系调节VR2至目标输出平均光功率,并用光功率计检查是否符合目标值,最大Ibias=0.75A。
B.根据图1的要求输入信号,连接光电探测器至示波器,观察光波形质量。调节VR1改变功率放大器增益至波形质量最佳;调节VR4改变功率放大器偏置电压,偏置电压越高,调制电流越大,波形幅度越大,消光比越大。最大调制电流可达1A。VR1和VR4结合调节达到最佳波形质量和幅度。
C.输入信号为比特流时,请注意编码方式,建议连续码数量小于7,8b/10b Encoding可保证最小抖动性能。传输速率范围:155Mbps-622Mbps。
Pulse工作模式:
A. 测量恒流源采样电阻R7两端电压Vb,Ibias=Vb÷R7,根据图2、图3的对应关系调节VR2至QCL阈值附近,并用光功率计检查输出光功率是否符合无光定义,最大Ibias=0.75A。
B. 根据图1的要求输入信号,连接光电探测器至示波器,观察光波形质量。调节VR1改变功率放大器增益至波形质量最佳;用光功率计测量不同脉宽及重复频率下输出平均光功率,调节VR4改变功率放大器偏置电压,偏置电压越高,调制电流越大,波形幅度越大,消光比越大,输出平均光功率越大。最大调制电流可达1A。VR1和VR4结合调节达到最佳波形质量、边沿速度、脉冲幅度及输出平均光功率。
机械结构

































